类别:行业新闻 发布时间:2026-03-20 11:17:35 浏览: 次
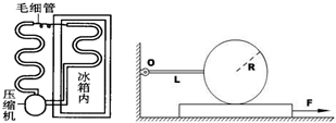
如图为电冰箱的工作原理示意图.压缩机工作时,强迫致冷剂在冰箱内外的管道中不断循环.在蒸发器中致冷剂汽化吸收箱体内的热量,经过冷凝器时致冷剂液化,放出热量到箱体外.下列说法正确的是()
B、电冰箱的致冷系统能够不断地把冰箱内的热量传到外界,是因为其消耗了电能
在冰箱制冷中是因为压缩机消耗了电能,从而能使冰箱源源不断地向外界散热,而不是自发地向外界散热.
解:由热力学第二定律知,热量不能自发的有低温物体传到高温物体,除非施加外部的影响和帮助.电冰箱把热量从低温的内
部传到高温外部,需要压缩机的帮助并消耗电能.故A错误,B正确;而在这一过程中,是消耗了电能,而使压缩机做功,故不违反热力学第一定律,故C正确,D错误;
(1)如图为电冰箱的工作原理图,压缩机工作时,强迫制冷剂在冰箱内外的管道中不断循环.那么,下列说法中正确的是BCBC
(2)如图所示,一个半径为R的均质金属球上固定着一根长为L的轻质细杆,细杆的左端用铰链与墙壁相连,球下边垫上一块木板后,细杆恰好水平,而木板下面是光滑的水平面.由于金属球和木板之间有摩擦(已知摩擦因素为μ),试求:要将木板从球下面向右抽出时,至少需要为水平拉力F的大小.

科目:高中物理来源:新人教版高三物理选修3-3热力学定律与能量守恒专项练习(带解析)题型:单选题
如图为电冰箱的工作原理示意图.压缩机工作时,强迫制冷剂在冰箱内外的管道中不断循环.在蒸发器中制冷剂汽化吸收箱体内的热量,经过冷凝器时制冷剂液化,放出热量到箱体外.

科目:高中物理来源:新人教版高三物理选修3-3热力学定律与能量守恒专项练习(解析版)题型:实验题
如图为电冰箱的工作原理示意图.压缩机工作时,强迫制冷剂在冰箱内外的管道中不断循环.在蒸发器中制冷剂汽化吸收箱体内的热量,经过冷凝器时制冷剂液化,放出热量到箱体外.

B.电冰箱的制冷系统能够不断地把冰箱内的热量传到外界,是因为其消耗了电能
(2)电冰箱的制冷系统从冰箱内吸收的热量与释放到外界的热量相比,有怎样的关系?
科目:高中物理来源:2011年宁夏吴忠市青铜峡市高考物理一模试卷(解析版)题型:解答题
(1)如图为电冰箱的工作原理图,压缩机工作时,强迫制冷剂在冰箱内外的管道中不断循环.那么,下列说法中正确的是______
(2)如图所示,一个半径为R的均质金属球上固定着一根长为L的轻质细杆,细杆的左端用铰链与墙壁相连,球下边垫上一块木板后,细杆恰好水平,而木板下面是光滑的水平面.由于金属球和木板之间有摩擦(已知摩擦因素为μ),试求:要将木板从球下面向右抽出时,至少需要为水平拉力F的大小.


